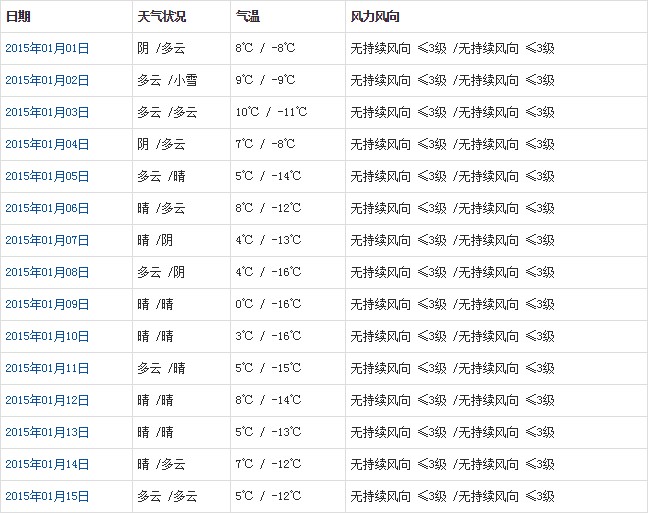
为方便游客的西藏日喀则出行,提供日喀则历年的1月天气预报数据供用户参考,包括日喀则1月份的最高气温,最低气温,白天和晚上温度,天气状况,及1月整月的风力风向。
日喀则1月天气预报统计表:


日喀则1月气温趋势图:

日喀则1月气温及晴雨表统计:

以上是日喀则1月份的天气预报明细,含每日天气温度,1月当月气温趋势图,及1月气温和天气统计表。
老牌旅游公司、始终专注做好一件事
不用辛苦看攻略、做预订、查签证资料
不止机票+酒店,帮你搞定一切
为你私人定制一次难忘的旅行
经营许可证编号:L-XZ00261 备案号:渝ICP备2022001649号
Copyright©2007-2026 西藏青年国际旅行社 版权所有